Теплопроводящие датчики используются для детектирования газов с теплопроводностью, превышающей воздух (например, водород, метан), при этом датчики не чувствительны к аммиаку или угарному газу. Принцип работы основан на измерении потерь тепла от горячего корпуса к холодному элементу.
Преимущества датчиков MD: широкий диапазон измерений (0-100% объемного содержания), линейный выходной сигнал по напряжению, хорошая репродуктивность и надежность измерений, возможность детектирования газа в бескислородной среде.
| Тип датчика | MD61 | MD62 |
| Детектируемый газ | СН4, Н2, инертные газы | СО2 углекислый газ |
| Диапазон измерений | 0-100 % объем | |
| Чувствительность | 10% СН4: ≥15 мВ | 10% СО2: ≥5 мВ |
| Время отклика | ≤15 с | |
| Время восстановления | ≤30 с | |
| Ток нагревателя | ≤120 мА | |
| Напряжение нагревателя | 3 ±0.1 В | |
| Потребляемая мощность нагревателя | ≤360 мВт | |
| Условия эксплуатации | -20…+50°С, влажность <95% | |
| Условия хранения | -20…+70°С, влажность <70% | |
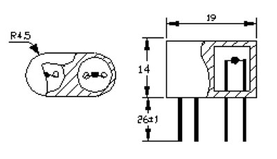
Чертеж
