Газ озон применяется во многих областях жизнедеятельности человека: предприятия по переработке и хранению (дезодорация и очистка воздуха), медицине (дезинфекция воздуха, обеззараживание и стерилизация, озонотерапия), легкой промышленности (очистка изделий, отбеливание), системах вентиляции и кондиционирования (регенерация фильтров, сорбентов, катализаторов) и др. Несмотря на это, озон очень агрессивен и ядовит. Значительная концентрация озона в воздухе может стать причиной серьезных ожогов слизистой оболочки человека.
Датчики кислорода (кислородные ячейки) могут использоваться в следующих областях:
— медицина (респираторы, обезболивающие инструменты, кислородные обогатители);
— биотехнологии (кислородные капсулы, кислородные инкубаторы);
— пищевая промышленность (теплицы, холодильники);
— безопасность (пожарные сигнализации, кондиционеры, кислородные датчики).
Технические параметры
| Тип датчика | ME3-O3 | ME2-O2-D20 |
| Детектируемый газ | О3 озон | О2 кислород |
| Диапазон измерений | 0-20 ppm | 0-25% объем. |
| Максимальный диапазон | 100 ppm | 30% объем |
| Выходной сигнал | (0.6 ±0.15) мкА/ppm | 0.1 -0.3 мА |
| Разрешение | 0.02 ppm | |
| Время отклика (Т90%*) | ≤120 c | ≤15 c |
| Рекомендуемая нагрузка | 10 Ом | 100 Ом |
| Повторяемость | 5% вых.знач-я | 2% вых.знач-я |
| Стабильность (месяц) | <2% | <2% |
| Нулевой сдвиг (-20…40°С) | ≤0.2 ppm | ≤0.1% объем. |
| Срок службы | 2 года | 2 года |
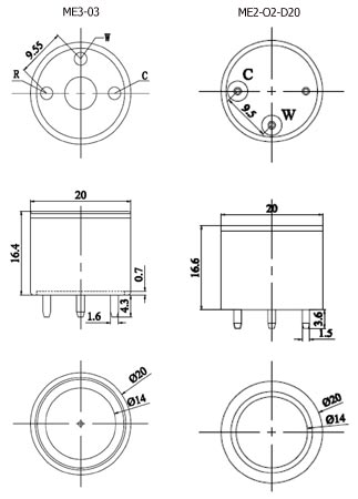
Чертеж

| Вид | Наименование | Производитель | Наличие | Условие поставки | Цена, руб с НДС | Документация |
|---|---|---|---|---|---|---|
![]() |
ME3-O3, электрохимический датчик озона O3 (промышленный) | Winsen | 10 шт. | со склада |
от 20 - 7251.93 от 14 - 7291.29 от 8 - 7330.64 от 2 - 7370.00 от 1 - 7500.00 |