Москва +7 (495) 125-15-24 shop@platan.ru | С.-Петербург +7 (812) 232-88-36 shop@platan.spb.ru

ИНТЕРНЕТ-МАГАЗИН

Суперконденсаторы серии FG

Суперконденсаторы серии FG Суперконденсаторы Kemet серии FG предназначены для применения в высокоэнергетичных системах хранения данных. Суперконденсаторы имеют сходные с традиционными конденсаторами и батарейками характеристики. Поэтому их можно использовать в качестве вторичных элементов для питания DC схем. Они имеют большие преимущества при использовании в низковольтных DC устройствах, например, микроконтроллерах с флэш-памятью.

Преимущества:
  • Широкий температурный диапазон от -25 до +70С (для серий FG и FGH), -40…+85С для серии FGR
  • Не требуют обслуживания
  • Максимальное напряжение напряжение 3.5 и 5.5 В DC
  • Высоконадежная защит от утечки
  • Бессвинцовое исполнение, соответствие RoHS
Применение:
  • CMOS микрокомпьютеры,
  • микросхемы для часов и таймеров,
  • статические RAM/DTS системы
Система обозначений
FG 0H 104 Z F
1 2 3 4 5
  • Серия:
    FG
    FGH
    FGR
  • Максимальное рабочее напряжение:
    0V = 3.5 В
    0H = 5.5 В
  • Код емкости:
    Первые две цифры значимые, третья – количество нулей, мкФ
  • Погрешность:
    Z - ?20/+80%
  • Бессвинцовое исполнение
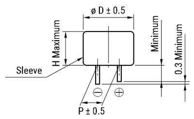
Габаритные характеристики

Габаритные характеристики FG

НаименованиеДиаметр D HP
FG0H103ZF11.05.55.08
FG0H223ZF11.05.55.08
FG0H473ZF11.05.55.08
FG0H104ZF11.06.55.08
FG0H224ZF13.09.05.08
FG0H474ZF14.518.05.08
FG0H105ZF16.519.05.08
FG0H225ZF21.519.07.62
FG0H475ZF28.522.010.16
FG0V155ZF16.514.05.08
FGH0H104ZF11.05.55.08
FGH0H224ZF11.07.05.08
FGH0H474ZF16.58.05.08
FGH0H105ZF21.9.57.62
FGH0V474ZF13.07.55.08
FGR0H474ZF14.518.05.08
FGR0H105ZF16.519.05.08
FGR0H225ZF21.519.07.62