Москва +7 (495) 125-15-24 shop@platan.ru | С.-Петербург +7 (812) 232-88-36 shop@platan.spb.ru

ИНТЕРНЕТ-МАГАЗИН

Ионисторы серии HW Panasonic

Ионисторы серии HW (Panasonic)</h1> Ионисторы используются в схемах резервных или автономных источников питания, а также в схемах управления электродвигателями и в автомо- бильной электронике. Ионисторы не имеют диэлектрического слоя, заряд накапливается в поверхностном ионном слое электродов. Таким образом, образуется «двойной электрический слой».

Ионисторы имеют ряд преимуществ перед традиционными устройствами — батареями, аккумуляторами и электролитическими конденсаторами: широ- кий температурный диапазон, длительный срок службы, большая емкость, низкие токи утечки и отсутствие необходимости контроля процесса зарядки. Типы корпусов: дисковые для монтажа в отверстие, «таблетки» для монтажа на плату, радиальные мощные.

Система обозначений
EEC S0HD 224 V
1 2 3 4
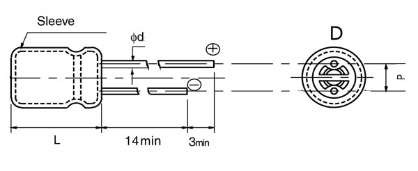
Габаритные размеры ионисторов серии HW
Габаритные размеры HW
Ф D, мм L, мм d, мм P, мм
1.0 8.0 22.0 0.7 3.5
3.3/4.7 12.5 23.0 0.8 5.0
10 12.5 35.0 0.8 7.5
22/30 18.0 35.0 0.7 3.5
50 18.0 40.0 0.8 7.5
70 18.0 50.0 0.8 7.5
Технические характеристики
Серия Срок заряда, часы Макс. рабочее напряжение, В Номинальный диапазон емкости, Ф Внутреннее сопротивление, Ом (1 кГц) Диапазон рабочих температур, °СПрименение
SG (EECS5R5H)1000 5.5 0.47 / 1 / 1.5 30 -25…70 Питание схем памяти видео и аудио оборудования, камер, телефонов и др.
SD (EECS0HD) 1000 5.5 0.022 / 0.047 / 0.1 / 0.2 / 0.33 150…75 -25…70
F (EECF5R5H) 1000 5.5 0.033 / 0.047 / 0.1 / 0.47 / 0.68 / 1 150…50 -25…85
NF (EECF5R5U) 1000 5.5 0.1 / 0.22 / 0.47 / 1 / 1.575…30 -25…70
HW (EECHW0D) 1000 2.3 1 - 22 1…0.1 -25…70 Схемы с питанием от солнечных батарей, портативные двигатели, UPS