Контактные площадки стандартных обжимных клемм «мама-папа» изготавливаются из листовой латуни толщиной всего 0.4мм. После обжима контактное соединение жилы с разъемом получается недостаточно надежным и прочным. Для решения этой задачи разработаны специальные виброустойчивые клеммы с дополнительной медной манжетой.
Виброустойчивые клеммы серии ВРПИ от КВТ предназначены для формирования быстроразъемных соединений многопроволочных проводов на подвижном составе и в зонах вибрации. За «виброустойчивость» клеммы отвечает дополнительная медная манжета (медь марки М1), которая увеличивает прочность соединения с проводом на 20-30%. Медная втулка образует конусообразный вход для быстрого заведения в клемму многопроволочных медных жил, а поперечные засечки на внутренней поверхности трубной части разъемов увеличивают механическую прочность соединения с жилой. Она же обеспечивает дополнительную защиту при неверной ориентации матриц относительно клемм при обжиме. Также немаловажно, что каждая клемма «мама» имеет конструктивный фиксатор замкового типа для прочного механического соединения с разъемом «папа».
Клеммы КВТ изготавливаются из латуни с применением электролитического метода лужения. При лужении олова в сплав добавляется висмут для повышения стойкости к коррозии, истиранию и экстремальным температурным колебаниям.
Клеммы ВРПИ имеют ПВХ изоляцию с классом горючести V-0 по UL94. Термостойкость такой изоляции составляет до 70 градусов.
Для обжима виброустойчивых разъемов ВРПИ-М используются те же матрицы и инструмент, что и для обжима стандартных разъемов РПИ-М и РПИ-П без дополнительной медной манжеты. После опрессовки двухконтурными матрицами МПК-01 «КВТ» медная втулка обжимает провод вдоль изоляции, образуя дополнительную точку фиксации провода и обеспечивая вибростойкое соединение.
Эксплуатационные характеристики
— Гарантийный срок хранения 5 лет
— Гарантийный срок эксплуатации 5 лет
— Срок службы 25 лет
Технические характеристики
| Наименование | Тип клеммы | Рабочее напряжение, кВ | Сечение жилы, кв.мм | Материал контакта | Технология монтажа | Класс гибкости жилы | Цвет изоляции |
| ВРПИ-М 1.5-(6.3) | гнездо | 0.4 | 0.5/0.75/1.0/1.5 | латунь с гальваническим лужением | опрессовка | 3/4/5/6 | красный |
| ВРПИ-М 2.5-(6.3) | 0.4 | 1.5/2.5 | синий | ||||
| ВРПИ-М 6,0-(6.3) | 0.4 | 4/6 | желтый | ||||
| ВРПИ-П 1.5-(6.3) | вилка | 0.4 | 0.5/0.75/1.0/1.5 | красный | |||
| ВРПИ-П 2.5-(6.3) | 0.4 | 1.5/2.5 | синий | ||||
| ВРПИ-П 6,0-(6.3) | 0.4 | 4/6 | желтый |
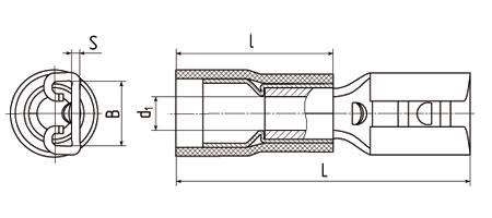
Габаритные размеры ВРПИ-М
![]() |
|||||
| Наименование | L | l | B | S | d1 |
| ВРПИ-М 1.5-(6.3) | 20.8 | 10.5 | 6.6 | 0.4 | 1.7 |
| ВРПИ-М 2.5-(6.3) | 20.8 | 10.5 | 6.6 | 0.4 | 2.3 |
| ВРПИ-М 6.0-(6.3) | 23.8 | 13 | 6.6 | 0.4 | 3.4 |
Габаритные размеры ВРПИ-П
![]() |
|||||
| Наименование | L | l | B | S | d1 |
| ВРПИ-П 1.5-(6.3) | 20.2 | 10.5 | 6.4 | 0.8 | 1.7 |
| ВРПИ-П 2.5-(6.3) | 20.4 | 10.5 | 6.4 | 0.8 | 2.3 |
| ВРПИ-П 6.0-(6.3) | 24.4 | 13 | 6.4 | 0.8 | 3.4 |
| Вид | Наименование | Производитель | Наличие | Условие поставки | Цена, руб с НДС | Документация |
|---|---|---|---|---|---|---|
![]() |
ВРПИ-П 2.5-(6.3), вибростойкая ножевая вилка 6.3мм син.на пр.1.5-2.5мм2 | КВТ | 280 шт. | со склада |
от 500 - 5.18 от 350 - 5.49 от 200 - 5.81 от 50 - 6.12 от 1 - 8.00 |
|
![]() |
ВРПИ-П 6.0-(6.3), вибростойкая ножевая вилка 6.3мм жел.на пр.4-6мм2 | КВТ | 32 шт. | со склада |
от 500 - 4.85 от 350 - 5.14 от 200 - 5.44 от 50 - 5.73 от 1 - 8.00 |
|
![]() |
ВРПИ-М 6.0-(6.3), вибростойкая ножевая клемма мама 6.3мм жел.на пр.4-6мм2 | КВТ | 1395 шт. | со склада |
от 500 - 9.24 от 350 - 9.79 от 200 - 10.35 от 50 - 10.90 от 1 - 15.00 |
|
![]() |
ВРПИ-М 1.5-6.3, Клеммы ножевые (фастоны) | КВТ | 325 шт. | 1-2 раб.дня |
от 4 - 9.26 от 3 - 9.28 от 3 - 9.29 от 2 - 9.31 от 1 - 10.00 |
|
![]() |
ВРПИ-М 6,0-(6,3) (ВРПИ-М 6.0-7-0.8), Разъем виброустойчивый плоский 4 - 6мм? | КВТ | 1000 шт. | 5 раб. дней |
от 200 - 25.92 от 140 - 25.98 от 80 - 26.04 от 20 - 26.10 от 1 - 27.00 |
|
![]() |
ВРПИ-П 1.5-(6.3), вибростойкая ножевая вилка 6.3мм крас.на пр.0.5-1.5мм2 | КВТ | под заказ | под заказ |
от 500 - 3.68 от 350 - 3.90 от 200 - 4.12 от 50 - 4.34 от 1 - 6.00 |
|
![]() |
ВРПИ-М 1.5-(6.3), вибростойкое ножевое гнездо 6.3мм крас.на пр.0.5-1.5мм2 | КВТ | под заказ | под заказ |
от 500 - 4.26 от 350 - 4.86 от 200 - 5.45 от 50 - 6.05 от 1 - 12.00 |
|
![]() |
ВРПИ-М 2.5-(6.3), вибростойкое ножевое гнездо 6.3мм син.на пр.1.5-2.5мм2 | КВТ | под заказ | под заказ |
от 400 - 5.22 от 280 - 5.54 от 160 - 5.85 от 40 - 6.17 от 1 - 9.00 |