Москва +7 (495) 125-15-24 shop@platan.ru | С.-Петербург +7 (812) 232-88-36 shop@platan.spb.ru

ИНТЕРНЕТ-МАГАЗИН

КД906А, диодная сборка

Номенклатурный номер: 52063
Производитель: СЗТП

КД906А, диодная сборка СЗТП
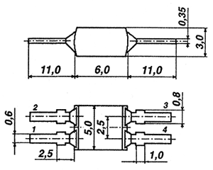
СЗТП Изображения и чертеж служат только для ознакомления, см. техническую документацию

Информация для заказа

Номенклатурный номер: 52063
Артикул: КД906А
Производитель: СЗТП

КД906А (datasheet)


этот же товар с другими сроками поставки,
оптимизация цены от количества
Наличие: под заказ
Поставка: по запросу менеджеру
Цены (уточняются по запросу на почту):
от 200 - 111.44 руб.
от 140 - 117.96 руб.
от 80 - 124.48 руб.
от 20 - 131.00 руб.
мин.заказ 20

Описание

Диодные матрицы, состоящие из кремниевых, эпитаксиально-планарных диодов предназначены для применения в качестве выпрямительного моста (матрицы КД906А, КД906Б, КД906В - при включении в схему выводами: 3, 4 - вход, 1, 2 - выход) или резервированного диодного элемента (матрицы КД906А, КД906Б, КД906В - при включении в схему любой из следующих пар выводов: 1 и 2, 1 и 3, 1 и 4, 3 и 2, 4 и 2, а также матрицы КД906Г, КД906Д, КД906Е - при включении в схему выводами 1, 2 и 3, 4.).
Выпускаются матрицы диодные в пластмассовом корпусе с гибкими выводами. Тип матрицы КД906А-КД906Е приводится на корпусе. У четвертого вывода матриц наносится белая полоса.

Технические
характеристики

Технические характеристики

Производитель СЗТП
Тип диода импульсный
Максимальное постоянное обратное напряжение,В 75
Максимальный прямой (выпрямленный за полупериод) ток,А 0.2
Максимальное время восстановления ,мкс 2
Максимальное импульсное обратное напряжение ,В 100
Максимально допустимый прямой импульсный ток,А 2
Максимальный обратный ток,мкА 5
Максимальное прямое напряжение,В 1
при Iпр.,А 0.05
Рабочая частота,кГц 100
Общая емкость,Сд.пФ 20
Рабочая температура,С -55...85
Корпус kbu 62
Способ монтажа SMT
Вес:0.60 гр.

Документация

КД906А (datasheet)

Сайт производителя: СЗТП

Доставка

Мы работаем с разными грузовыми компаниями:

  • самовывоз из офиса в Москве
  • курьерская доставка по Москве и С.-Петербургу
  • ПВЗ Яндекс-Доставка, СДЭК
  • почта России
  • экспресс-доставки: Деловые линии, MajorExpress, ТК Энергия

Оплатить товар можно:

  • Банковским переводом
  • Наличными при получении товара (для клиентов из Москвы и Санкт-Петербурга)
  • Пластиковой картой Visa/MasterCard/Мир (кроме клиентов с самовывозом из Санкт-Петербурга)

Указано наличие на складе. Цены указаны с учетом НДС. Приведенная информация носит справочный характер и не является публичной офертой в соответствии с п. 2 ст. 437 ГК РФ. При заказе через сайт счет на оплату выставляется в онлайн-режиме и товар резервируется на 3 рабочих дня.

Корзина

Товар добавлен в корзину!