Основные размеры компонентов поверхностного монтажа (SMD)
Размеры резисторов
| Типоразмер |
L, мм |
W, мм |
H, мм |
L1, мм |
L2, мм |
Чертеж |
| EIA |
метрический |
| 0402 |
1005 |
1.0±0.1 |
0.5±0.05 |
0.35±0.05 |
0.2±0.1 |
0.25±0.1 |
 |
| 0603 |
1608 |
1.6±0.1 |
0.85±0.1 |
0.45±0.05 |
0.3±0.2 |
0.3±0.2 |
| 0805 |
2012 |
2.1±0.1 |
1.3±0.1 |
0.5±0.05 |
0.4±0.2 |
0.4±0.2 |
| 1206 |
3216 |
3.1±0.1 |
1.6±0.1 |
0.55±0.05 |
0.5±0.25 |
0.5±0.25 |
| 1210 |
3225 |
3.1±0.1 |
2.6±0.1 |
0.55±0.05 |
0.5±0.25 |
0.4±0.2 |
| 2010 |
5025 |
5.0±0.1 |
2.5±0.1 |
0.55±0.05 |
0.6±0.25 |
0.4±0.2 |
| 2512 |
6332 |
6.35±0.1 |
3.2±0.1 |
0.55±0.05 |
0.6±0.25 |
0.4±0.2 |
Размеры керамических конденсаторов
| Tипоразмер |
L, мм |
W, мм |
H, мм |
Чертеж |
| EIA |
метрический |
| 0402 |
1005 |
1.0 |
0.5 |
0.55 |
 |
| 0603 |
1608 |
1.6 |
0.8 |
0.9 |
| 0805 |
2012 |
2.0 |
1.25 |
1.3 |
| 1206 |
3216 |
3.2 |
1.6 |
1.5 |
| 1210 |
3225 |
3.2 |
2.5 |
1.7 |
| 1812 |
4532 |
4.5 |
3.2 |
1.7 |
| 1825 |
4564 |
4.5 |
6.4 |
1.7 |
| 2220 |
5650 |
5.6 |
5.0 |
1.8 |
| 2225 |
5664 |
5.6 |
6.3 |
2.0 |
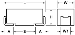
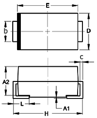
Размеры танталовых конденсаторов
| Tипоразмер |
L, мм |
W, мм |
H, мм |
W1 |
A |
S |
Чертеж |
| EIA |
метрический |
| A |
3216 |
3.2 |
1.6 |
1.6 |
1.2 |
0.8 |
1.1 |
 |
| B |
3528 |
3.5 |
2.8 |
1.9 |
2.2 |
0.8 |
1.4 |
| C |
6032 |
6 |
3.2 |
2.6 |
2.2 |
1.3 |
2.9 |
| D |
7343 |
7.3 |
4.3 |
2.9 |
2.4 |
1.3 |
4.4 |
| E |
7343H |
7.3 |
4.3 |
4.1 |
2.4 |
1.3 |
4.4 |
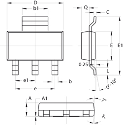
Полупроводниковые компоненты
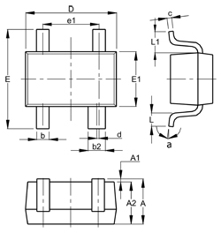
| SOT223 / TO261AA |
| Размер, мм |
мин. |
макс. |
Чертеж |
Размер, мм |
мин. |
макс. |
| A |
1.55 |
1.65 |
 |
E |
3.45 |
3.55 |
| A1 |
0.01 |
0.15 |
E1 |
6.9 |
7.1 |
| b |
0,6 |
0,8 |
e |
- |
- |
| b1 |
2.9 |
3.1 |
e1 |
- |
- |
| C |
0.2 |
0.3 |
L |
0.85 |
1.05 |
| D |
6.45 |
6.55 |
Q |
0.84 |
0.94 |
| SOT89 / TO243AA / SC62 / MPT3 |
| Размер, мм |
мин. |
макс. |
Чертеж |
Размер, мм |
мин. |
макс. |
| A |
1.4 |
1.6 |
 |
E2 |
2.05 |
2.35 |
| B |
0.5 |
0.62 |
e |
- |
- |
| B1 |
0.42 |
0.54 |
H |
3.95 |
4.25 |
| C |
0.35 |
0.43 |
H1 |
2.63 |
2.93 |
| D |
4.4 |
4.6 |
L |
0.9 |
1.2 |
| D1 |
1.62 |
1.83 |
L1 |
0.84 |
0.94 |
| D2 |
1.61 |
1.81 |
Z |
0.2 |
0.4 |
| E |
2.4 |
2.6 |
|
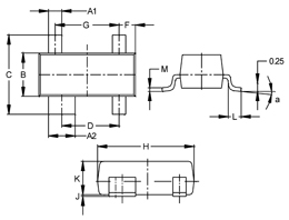
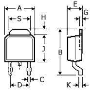
| SOT143 / TO253 |
| Размер, мм |
мин. |
макс. |
Чертеж |
Размер, мм |
мин. |
макс. |
| A1 |
0.37 |
0.51 |
 |
H |
2.8 |
. |
| A2 |
0.77 |
0.93 |
J |
0.013 |
0.1 |
| B |
1.2 |
1.4 |
K |
0.89 |
1 |
| C |
2.28 |
2.48 |
L |
0.46 |
0.6 |
| D |
1.58 |
1.83 |
M |
0.09 |
0.18 |
| F |
0.45 |
0.6 |
a |
0° |
8° |
| G |
1.78 |
2.03 |
|
|
|
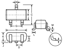
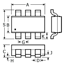
| SOT23 / TO236AB |
| Размер, мм |
мин. |
макс. |
Чертеж |
Размер, мм |
мин. |
макс. |
| A |
0.37 |
0.51 |
 |
J |
0.013 |
0.1 |
| B |
1.2 |
1.4 |
K |
0.89 |
1 |
| C |
2.3 |
2.5 |
K1 |
0.903 |
1.1 |
| D |
0.89 |
1.03 |
L |
0.45 |
0.61 |
| F |
0.45 |
0.6 |
L1 |
0.25 |
0.55 |
| G |
1.78 |
2.05 |
M |
0.09 |
0.15 |
| H |
2.8 |
3 |
a |
0° |
8° |
| SC59 / SOT346 / SMT3 |
| Размер, мм |
мин. |
макс. |
Чертеж |
Размер, мм |
мин. |
макс. |
| A |
0.35 |
0.5 |
 |
J |
0.013 |
0.1 |
| B |
1.5 |
1.7 |
K |
1 |
1.3 |
| C |
2.7 |
3 |
L |
0.35 |
0.55 |
| D |
- |
- |
M |
0.1 |
0.2 |
| G |
- |
- |
N |
0.7 |
0.8 |
| H |
2.9 |
3.1 |
a |
0° |
8° |
| SOT323 / SC70-3 / UMT3 |
| Размер, мм |
мин. |
макс. |
Чертеж |
Размер, мм |
мин. |
макс. |
| A1 |
0 |
0.1 |
 |
E1 |
1.15 |
1.35 |
| A2 |
0.9 |
1 |
e |
0.65 BSC |
| b |
0.25 |
0.4 |
e1 |
1.2 |
1.4 |
| c |
0.1 |
0.18 |
F |
0.38 |
0.48 |
| D |
1.8 |
2.2 |
L |
0.25 |
0.4 |
| E |
2 |
2.2 |
a |
0° |
8° |
| SOT353 / SC70-5 / UMT5 |
| Размер, мм |
мин. |
макс. |
Чертеж |
Размер, мм |
мин. |
макс. |
| A1 |
0 |
0.1 |
 |
E1 |
1.15 |
1.35 |
| A2 |
0.9 |
1 |
e |
0.65 BSC |
| b |
0.1 |
0.3 |
F |
0.4 |
0.45 |
| c |
0.1 |
0.22 |
L |
0.25 |
0.4 |
| D |
1.8 |
2.2 |
a |
0° |
8° |
| E |
2 |
2.2 |
|
|
|
| SOT363 / SC70-6 / UMT6 |
| Размер, мм |
мин. |
макс. |
Чертеж |
Размер, мм |
мин. |
макс. |
| A1 |
0 |
0.1 |
 |
E1 |
1.15 |
1.35 |
| A2 |
0.9 |
1 |
e |
0.65 BSC |
| b |
0.1 |
0.3 |
F |
0.4 |
0.45 |
| c |
0.1 |
0.22 |
L |
0.25 |
0.4 |
| D |
1.8 |
2.2 |
a |
0° |
8° |
| E |
2 |
2.2 |
|
|
|
| SOT343 (Type CJ) |
| Размер, мм |
мин. |
макс. |
Чертеж |
Размер, мм |
мин. |
макс. |
| A |
0.9 |
1.1 |
 |
E |
1.15 |
1.35 |
| A1 |
0 |
0.1 |
E1 |
2.15 |
2.45 |
| A2 |
0.9 |
1 |
e |
0.65 BSC |
| b |
0.25 |
0.4 |
e1 |
1.2 |
1.4 |
| b2 |
0.35 |
0.5 |
L |
0.26 |
0.46 |
| c |
0.08 |
0.15 |
L1 |
0.525 REF |
| d |
0.05 TYP |
a |
0° |
8° |
| D |
2 |
2.2 |
|
|
|
| SOT457 / SC74 |
| Размер, мм |
мин. |
макс. |
Чертеж |
Размер, мм |
мин. |
макс. |
| A |
2.7 |
3.1 |
 |
B |
1.3 |
1.7 |
| C |
0.9 |
1.1 |
D |
0.25 |
0.40 |
| G |
0.95 |
H |
0.013 |
0.1 |
| J |
0.1 |
0.26 |
K |
0.2 |
0.6 |
| S |
2.5 |
3.0 |
|
|
|
| SOT490 / SC89 |
| Размер, мм |
мин. |
макс. |
Чертеж |
Размер, мм |
мин. |
макс. |
| A |
1.50 |
1.70 |
 |
B |
0.75 |
0.95 |
| C |
0.6 |
0.8 |
D |
0.23 |
0.33 |
| G |
0.5 BSC |
J |
0.1 |
0.2 |
| K |
0.45 |
0.55 |
L |
1.0 BSC |
| S |
4.45 |
5.46 |
|
|
|
| SOT416 / SC75 |
| Размер, мм |
мин. |
макс. |
Чертеж |
Размер, мм |
мин. |
макс. |
| A |
1.40 |
1.8 |
 |
B |
0.70 |
0.80 |
| C |
0.6 |
0.9 |
D |
0.15 |
0.3 |
| G |
1.0 BSC |
H |
- |
0.1 |
| J |
0.1 |
0.25 |
K |
0.2 |
0.3 |
| L |
0.7 |
0.9 |
S |
1.45 |
1.75 |
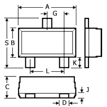
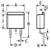
| DPACK |
| Размер, мм |
мин. |
макс. |
Чертеж |
Размер, мм |
мин. |
макс. |
| A |
6.35 |
6.73 |
 |
B |
9.4 |
10.4 |
| C |
0.55 |
0.75 |
D |
4.58 BSC |
| E |
2.2 |
2.5 |
G |
0.84 |
1.0 |
| H |
0.77 |
1.27 |
J |
5.97 |
6.35 |
| K |
0.45 |
0.55 |
S |
4.45 |
5.46 |
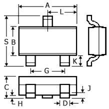
| D2PACK |
| Размер, мм |
мин. |
макс. |
Чертеж |
Размер, мм |
мин. |
макс. |
| A |
10.30 |
10.54 |
 |
B |
14.7 |
15.5 |
| C |
1.15 |
1.4 |
D |
5.08 |
| E |
4.2 |
4.7 |
G |
1.22 |
1.32 |
| H |
- |
1.4 |
J |
8.6 |
9.0 |
| K |
0.45 |
0.55 |
L |
2.3 |
2.8 |
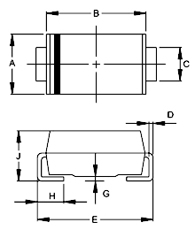
| SOD110 |
| Размер, мм |
мин. |
макс. |
Чертеж |
Размер, мм |
мин. |
макс. |
| A |
- |
1.6 |
 |
B |
1.1 |
1.4 |
| C |
0.1 |
D |
1.9 |
2.1 |
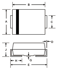
| SOD106 / DO-214AC |
| Размер, мм |
мин. |
макс. |
Чертеж |
Размер, мм |
мин. |
макс. |
| A1 |
0.08 |
0.31 |
 |
D |
2.4 |
2.83 |
| A2 |
1.9 |
2.29 |
E |
3.99 |
4.75 |
| b |
1.25 |
1.65 |
H |
4.8 |
5.28 |
| c |
0.15 |
0.31 |
L |
0.76 |
1.52 |
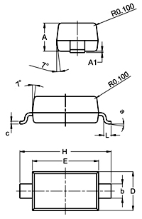
| SMA |
| Размер, мм |
мин. |
макс. |
Чертеж |
Размер, мм |
мин. |
макс. |
| A |
2.29 |
2.92 |
 |
E |
4.8 |
5.6 |
| B |
4 |
4.6 |
G |
0.05 |
0.2 |
| C |
1.27 |
1.63 |
H |
0.76 |
1.52 |
| D |
0.15 |
0.31 |
J |
1.96 |
2.4 |
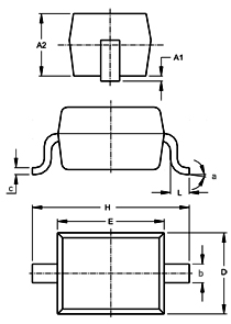
| SMB |
| Размер, мм |
мин. |
макс. |
Чертеж |
Размер, мм |
мин. |
макс. |
| A |
2 |
2.5 |
 |
D |
3.3 |
3.94 |
| A1 |
0.05 |
0.2 |
E |
5 |
5.59 |
| b |
1.96 |
2.21 |
E1 |
4.06 |
4.57 |
| c |
0.15 |
0.31 |
L |
0.76 |
1.52 |
| SMC |
| Размер, мм |
мин. |
макс. |
Чертеж |
Размер, мм |
мин. |
макс. |
| A |
5.59 |
6.22 |
 |
E |
7.75 |
8.13 |
| B |
6.6 |
7.11 |
G |
0.1 |
0.2 |
| C |
2.75 |
3.18 |
H |
0.76 |
1.52 |
| D |
0.15 |
0.31 |
J |
2 |
2.5 |
| SOD123 |
| Размер, мм |
мин. |
макс. |
Чертеж |
Размер, мм |
мин. |
макс. |
| A |
1 |
1.35 |
 |
E |
2.55 |
2.85 |
| A1 |
0 |
0.1 |
H |
3.55 |
3.85 |
| b |
0.52 |
0.62 |
L |
0.25 |
0.4 |
| c |
0.1 |
0.15 |
a |
0° |
8° |
| D |
1.4 |
1.7 |
|
|
|
| SOD323 |
| Размер, мм |
мин. |
макс. |
Чертеж |
Размер, мм |
мин. |
макс. |
| A1 |
- |
0.1 |
 |
E |
1.6 |
1.8 |
| A2 |
1 |
1.1 |
H |
2.3 |
2.7 |
| b |
0.25 |
0.35 |
L |
0.2 |
0.4 |
| c |
0.1 |
0.15 |
a |
0° |
8° |
| D |
1.2 |
1.4 |
|
|
|
| SOD80 / MiniMELF / LL34 |
| Размер, мм |
мин. |
макс. |
Чертеж |
Размер, мм |
мин. |
макс. |
| A |
3.3 |
3.7 |
 |
B |
1.6 |
1.7 |
| C |
2.49 |
2.59 |
D |
0.41 |
0.55 |
| MELF / LL41 |
| Размер, мм |
мин. |
макс. |
Чертеж |
Размер, мм |
мин. |
макс. |
| A |
4.8 |
5.2 |
 |
B |
2.44 |
2.54 |
| C |
3.71 |
4.59 |
D |
0.36 |
0.5 |