
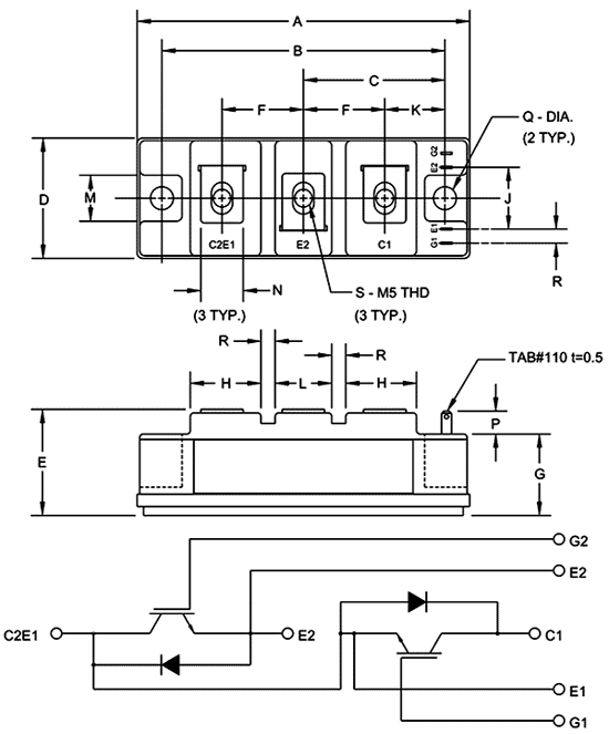
Изображения и чертеж служат только для ознакомления, см. техническую документацию
Информация для заказа
Номенклатурный номер: 682919535
Артикул: CM50DU-24F
Производитель: Mitsubishi
| Наличие: под заказ |
| Поставка: по запросу менеджеру |
| Цены (уточняются по запросу на почту): |
| от 70 - 4804.99 руб. |
Технические характеристики
CM50DU-24F, модуль 2 IGBT RTC 1200В 50A 4 поколение F серия (печатный каталог ПЛАТАН)
Поиск документации на CM50DU-24F
Сайт производителя: Mitsubishi
Доставка
Мы работаем с разными грузовыми компаниями:
Оплатить товар можно: